Lokal na wynajem Wrocław, Krzyki, Centrum

39.00 m²
55,00 zł/m2
6 piętro
ASO-LW-40166

2 145 zł

Lokal na wynajem
Nowa oferta

Szczegóły oferty

Symbol oferty ASO-LW-40166
Powierzchnia 39,00 m²
Rodzaj budynku biurowiec
Piętro 6
Stan lokalu dobry
Typ kaucji jednomiesięczna
Okna częściowo wymienione
Instalacje częściowo wymienione
Rodzaj lokalu jednopoziomowy
Przeznaczenie lokalu biurowy
Czynsz najmu netto /m2 55 PLN
Czynsz najmu brutto /m2 68 PLN
Winda tak
Liczba wind 2
Pomieszczenia
Anna Skwarciak

Anna Skwarciak

Agent
Nr licencji: 16519

Napisz wiadomość 847 Ofert

Opis nieruchomości

Prowizje dla biura pokrywa Właściciel nieruchomości.

Obiekt biurowy o powierzchni 2 240   m2

Parking naziemny – 100 miejsc postojowych
Proponowana powierzchnia 13- 345 m2
Współczynnik części wspólnych -0 %
Dostępność: od 1.07. 2025 r
 
Czynsz najmu powierzchni biurowej – 55,00 PLN/ 1m2/m-c
Opłata service charge – 25,00 PLN/ 1m2 /m-c 

Miejsce postojowe 180 zł/mc 
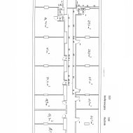
Prezentowana powierzchnia to lokal  dwupomieszczeniowy o powierzchni: 39m2  ( 13m2, 26m2)



Dostępne lokale:

  • 13m2
  • 2*13m2
  • 3*13m2
  • 4*13m2
  • 5*13m2
  • 18m2
  • 2*18m2
  • 3*18m2
  • 4*18m2
  • 5*18m2
  • 21m2
  • 25 m2
  • 31m2
  • 35m2

Charakterystyka:
  • Dozorowany parking
  • Ochrona i monitoring
  •  Windy osobowe
  • Stojaki na rowery


Dostęp do powierzchni 24 h na dobę, 7 dni w tygodniu
 
Anna Skwarciak ASK OFFICE
+48 609 842 932
a.skwarciak@askhome

Więcej ofert ma stronie www.askhome.pl

 
Wszelkie podane przez Pośrednika informacje nie są ofertą w rozumieniu Kodeksu Cywilnego
 

Podobne oferty

Lokal na wynajem

Wrocław, Krzyki

53 m2 49,50 zł/m2

Lokal na wynajem

Wrocław, Krzyki

30 m2 57,00 zł/m2

Lokal na wynajem

Wrocław, Krzyki

37 m2 55,00 zł/m2

Lokal na wynajem

Wrocław, Krzyki

29 m2 55,00 zł/m2

Agent

Proszę wprowadzić poprawne imię i nazwisko
Proszę wprowadzić poprawny numer telefonu
Proszę wprowadzić poprawny adres e-mail
Proszę zaznaczyć wymagane zgody
Rozwiąż równanie:
10 9
Niepoprawny wynik