| Symbol oferty | ASO-LW-40079 | 
| Powierzchnia | 28,00 m² | 
| Rodzaj budynku | biurowiec | 
| Piętro | 6 | 
| Typ kaucji | jednomiesięczna | 
| Okna | częściowo wymienione | 
| Instalacje | częściowo wymienione | 
| Rodzaj lokalu | jednopoziomowy | 
| Przeznaczenie lokalu | biurowy | 
| Czynsz najmu netto /m2 | 55 PLN | 
| Czynsz najmu brutto /m2 | 68 PLN | 
| Winda | tak | 
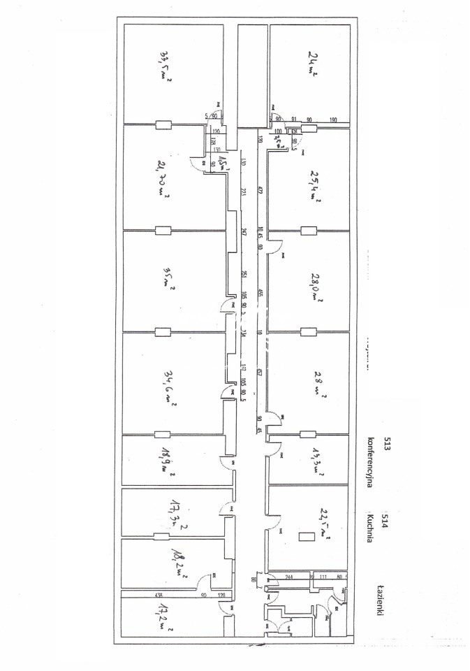
| Pomieszczenia | |
 
                        
                    
                            Prowizje dla biura pokrywa Właściciel nieruchomości.
Obiekt biurowy o powierzchni 2 240   m2
Parking naziemny – 100 miejsc postojowych
Proponowana powierzchnia 13- 345 m2
Współczynnik części wspólnych -0 %
Dostępność: od 1.01. 2025 r
 
Czynsz najmu powierzchni biurowej – 55,00 PLN/ 1m2/m-c
Opłata service charge – 25,00 PLN/ 1m2 /m-c 
Miejsce postojowe 180 zł/mc 
Prezentowana powierzchnia to lokal o powierzchni: 28m2 (10m2+18m2)
Dostępne lokale:
Agent